No products in the cart.
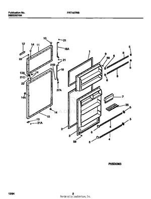
02 - FOOD AND FREEZER DOORS
03 - CABINET, FAN ASSEMBLY
04 - SHELVES, DIVIDERS
05 - COMPRESSOR, CONDENSER, EVAPORATOR
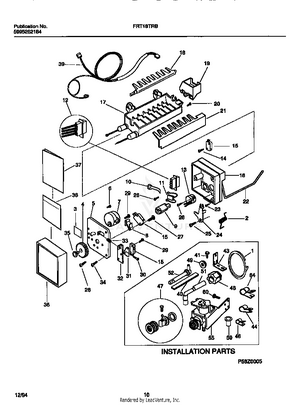
06 - AUTOMATIC ICE MAKER