No products in the cart.
01 - COVER
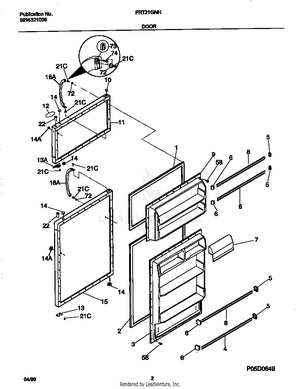
02 - DOORS
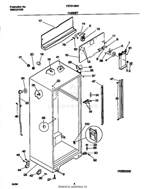
03 - CABINET
04 - SHELVES
05 - SYSTEMS
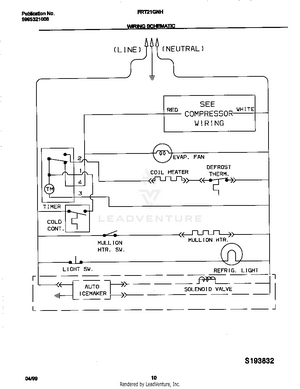
06 - WIRING DIAGRAM
07 - WIRING DIAGRA,