No products in the cart.
01 - COVER
02 - BACKGUARD
03 - BODY
04 - TOP/DRAWER
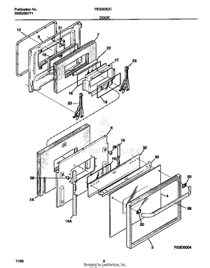
05 - DOOR
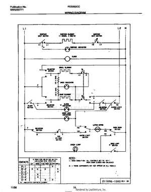
06 - WIRING DIAGRAM