No products in the cart.
02 - CONSOLE & CONTROLS
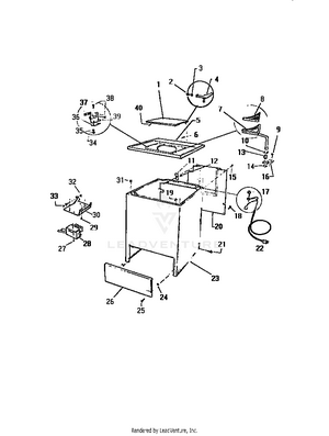
03 - CABINET, TOP PANEL
04 - TUBS, BASE
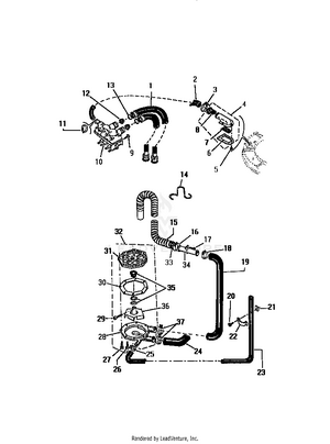
05 - PUMP, HOSES
06 - MOTOR
07 - TRANSMISSION