No products in the cart.
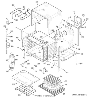
CENTER SPACER
CONTROL PANEL
CONVECTION FAN
DOOR
DOOR LOCK
LOWER OVEN
UPPER OVEN