No products in the cart.
BACKSPLASH, BLOWER & MOTOR ASSEMBLY
CABINET
DRUM
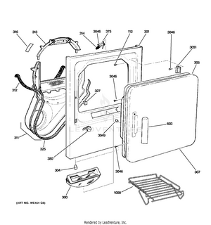
FRONT PANEL & DOOR
GAS VALVE & BURNER ASSEMBLY