No products in the cart.
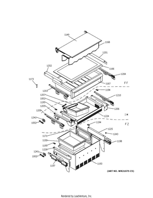
CABINET
DOOR PANEL KIT
DOORS
EVAPORATOR INSTRUCTIONS
LOKRING CONNECTORS
MACHINE COMPARTMENT
MONOGRAM CUSTOMIZATION
SHELVES & DRAWERS