No products in the cart.
CASE PARTS
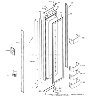
FREEZER DOOR
FREEZER SECTION
FREEZER SHELVES
FRESH FOOD DOOR
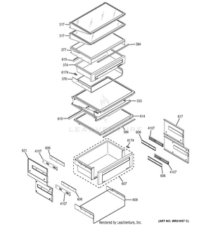
FRESH FOOD SECTION
FRESH FOOD SHELVES
ICE MAKER & DISPENSER
MACHINE COMPARTMENT
QUICK CHILL