No products in the cart.
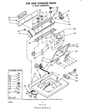
02 - TOP AND CONSOLE
03 - CABINET
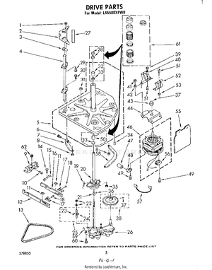
04 - DRIVE
05 - TUB AND BASKET
06 - MISCELLANEOUS , LITERATURE AND OPTIONAL
07 - GEARCASE
08 - BASKET DRIVE AND BRAKE