No products in the cart.
02 - TOP AND CONSOLE
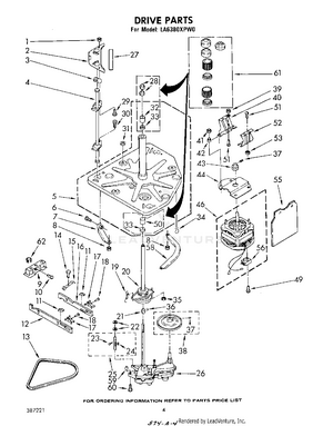
03 - DRIVE
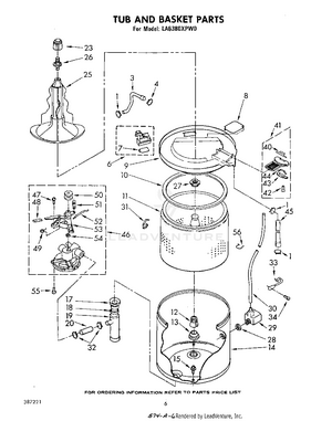
04 - TUB AND BASKET
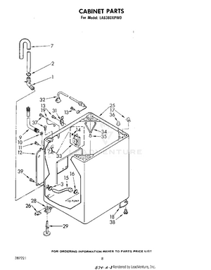
05 - CABINET
06 - MISCELLANEOUS , LITERATURE AND OPTIONAL
07 - GEARCASE
08 - BASKET DRIVE AND BRAKE