No products in the cart.
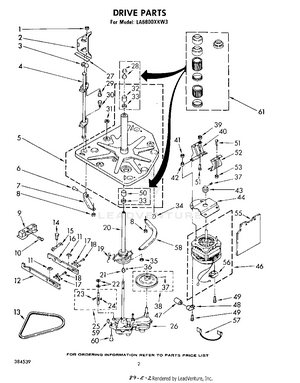
02 - DRIVE
03 - WATER PUMP
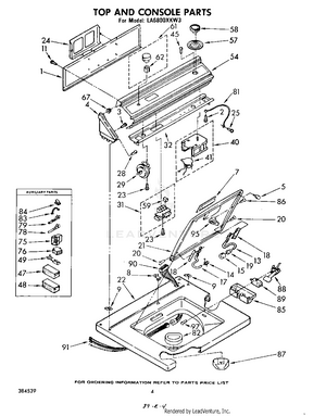
04 - TOP AND CONSOLE
05 - CABINET
06 - GEAR CASE
07 - BASKET DRIVE AND BRAKE
08 - MISCELLANEOUS , LITERATURE AND OPTIONAL
09 - SECTION