No products in the cart.
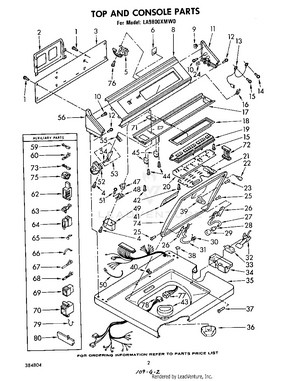
02 - TOP AND CONSOLE
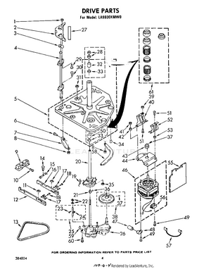
03 - DRIVE
04 - WATER PUMP
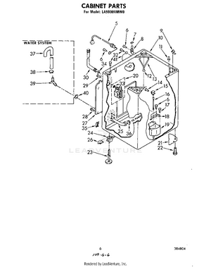
05 - CABINET
06 - TUB AND BASKET
07 - GEARCASE
08 - BASKET DRIVE AND BREAK
09 - MISCELLANEOUS , LITERATURE AND OPTIONAL