No products in the cart.
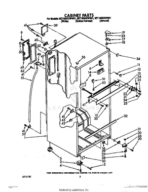
02 - CABINET
03 - LINER
04 - COMPARTMENT SEPARATOR
05 - SHELF
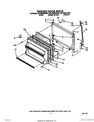
06 - FREEZER DOOR
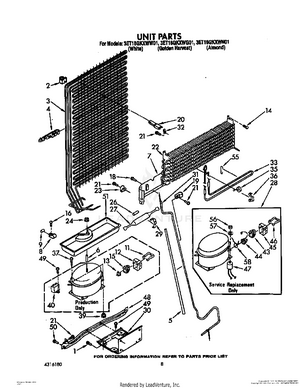
07 - UNIT
08 - TRANSFORMER
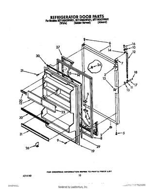
09 - REFRIGERATOR DOOR, NOT ILLUSTRATED