No products in the cart.
01 - CABINET
02 - REFRIGERATOR LINER
03 - FREEZER LINER
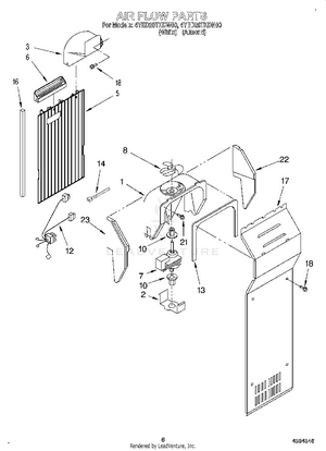
04 - AIR FLOW
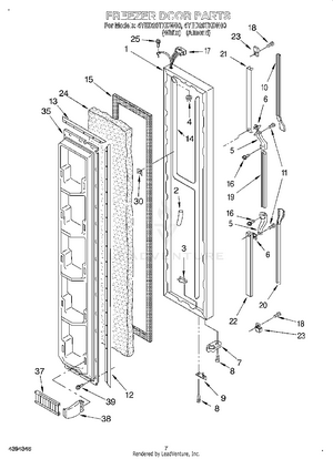
05 - FREEZER DOOR
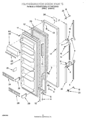
06 - REFRIGERATOR DOOR
07 - UNIT
08 - CONTROL, LIT/OPTIONAL