No products in the cart.
01 - CABINET
02 - LINER
03 - COMPARTMENT SEPARATOR
04 - SHELF
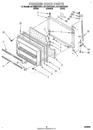
05 - FREEZER DOOR
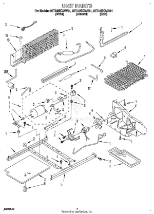
06 - UNIT
07 - REFRIGERATOR DOOR, LIT/OPTIONAL