No products in the cart.
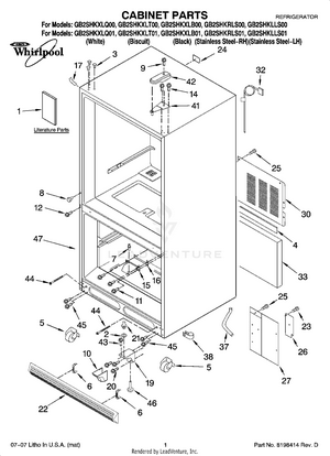
01 - CABINET PARTS
02 - FREEZER LINER PARTS
03 - FREEZER DOOR PARTS
04 - REFRIGERATOR LINER PARTS
05 - REFRIGERATOR DOOR PARTS
06 - UNIT PARTS
07 - SHELF PARTS, OPTIONAL PARTS