No products in the cart.
01 - CABINET PARTS
02 - LINER PARTS
03 - SHELF PARTS
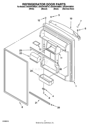
04 - REFRIGERATOR DOOR PARTS
05 - UNIT PARTS
06 - FREEZER DOOR PARTS, OPTIONAL PARTS