No products in the cart.
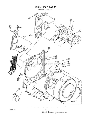
02 - BULKHEAD, LITERATURE AND OPTIONAL
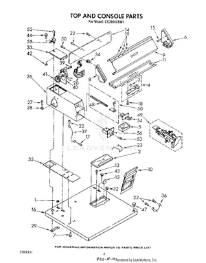
03 - TOP AND CONSOLE
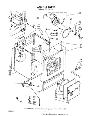
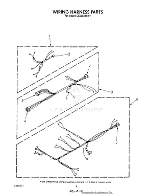
04 - CABINET, WIRING HARNESS
05 - SECTION