No products in the cart.
01 - CONSOLE
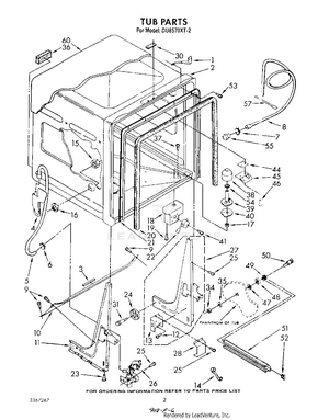
02 - TUB , LITERATURE AND OPTIONAL
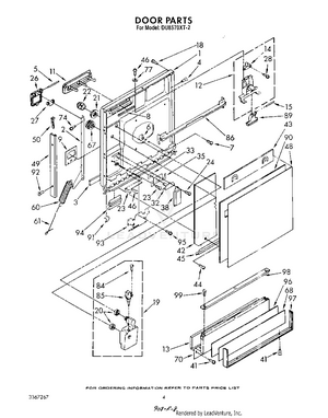
03 - DOOR
04 - HEATER, PUMP AND LOWER SPRAY ARM
05 - DISH RACK AND PANEL
06 - PUMP AND MOTOR
07 - WIRING HARNESS