No products in the cart.
01 - FRAME AND CONSOLE
02 - INNER DOOR
03 - TUB ASSEMBLY
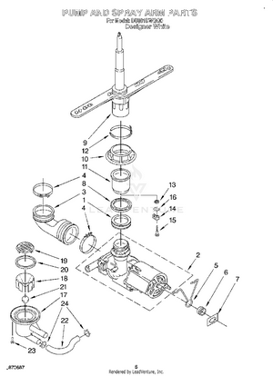
04 - PUMP AND SPRAY ARM
05 - PUMP AND MOTOR
06 - DISHRACK
07 - MISCELLANEOUS, LIT/OPTIONAL