No products in the cart.
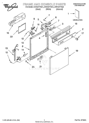
01 - FRAME AND CONSOLE, LITERATURE
02 - INNER DOOR
03 - TUB ASSEMBLY
04 - PUMP AND MOTOR
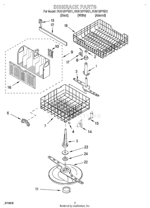
05 - DISHRACK
06 - MISCELLANEOUS, OPTIONAL