No products in the cart.
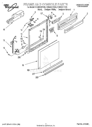
01 - FRAME AND CONSOLE
02 - INNER DOOR
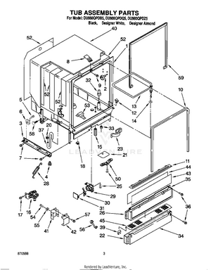
03 - TUB ASSEMBLY
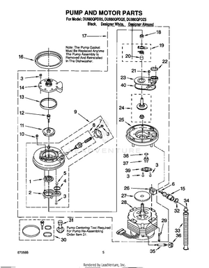
04 - PUMP AND MOTOR
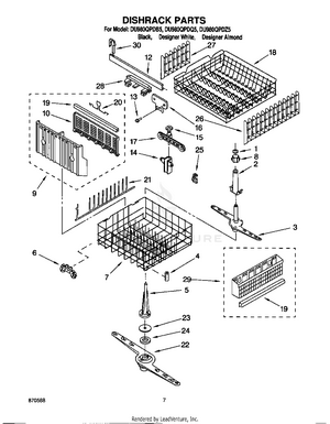
05 - DISHRACK
06 - MISCELLANEOUS, LIT/OPTIONAL