No products in the cart.
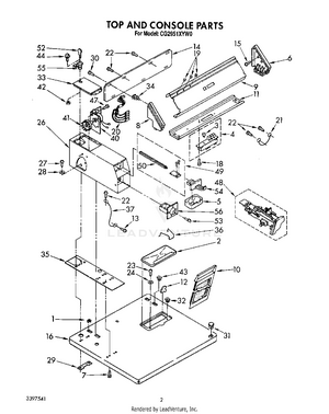
02 - TOP AND CONSOLE
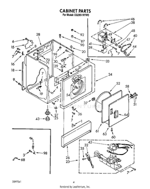
03 - CABINET
04 - BULKHEAD, LIT/OPTIONAL
05 - 694670 BURNER
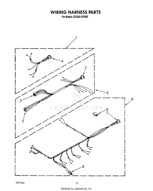
06 - WIRING HARNESS