No products in the cart.
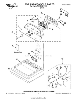
01 - TOP AND CONSOLE PARTS
02 - CABINET PARTS
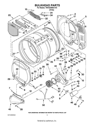
03 - BULKHEAD PARTS
04 - 8576353 BURNER ASSEMBLY
05 - OPTIONAL PARTS (NOT INCLUDED)