No products in the cart.
01 - COOKTOP PARTS
02 - CONTROL PANEL PARTS
03 - MANIFOLD PARTS
04 - CHASSIS PARTS
05 - DRAWER & BROILER PARTS
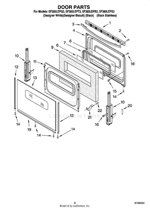
06 - DOOR PARTS, OPTIONAL PARTS