No products in the cart.
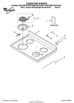
01 - COOKTOP PARTS
02 - CONTROL PANEL PARTS
03 - CHASSIS PARTS
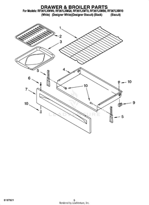
04 - DRAWER & BROILER PARTS
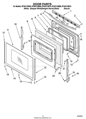
05 - DOOR PARTS, MISCELLANEOUS PARTS