No products in the cart.
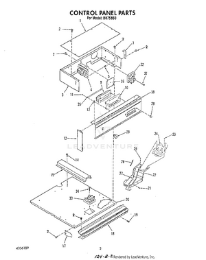
02 - CONTROL PANEL
03 - OVEN
04 - BURNER
05 - OVEN DOOR , LIT/OPTIONAL
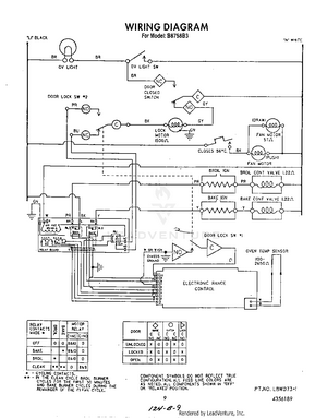
06 - WIRING DIAGRAM