No products in the cart.
01 - CABINET, LITERATURE
02 - REFRIGERATOR LINER
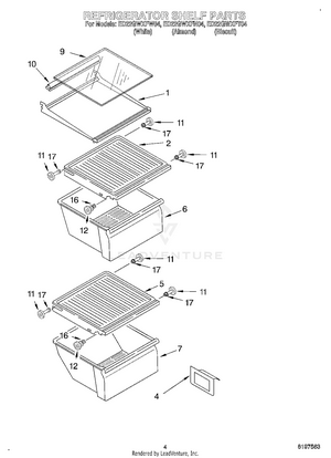
03 - REFRIGERATOR SHELF
04 - FREEZER LINER
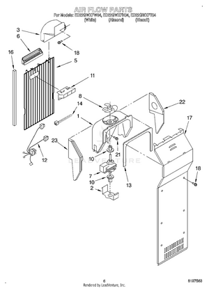
05 - AIR FLOW
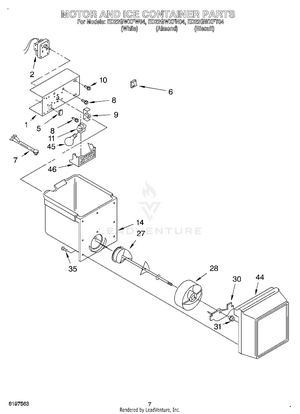
06 - MOTOR AND ICE CONTAINER
07 - REFRIGERATOR DOOR
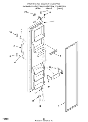
08 - FREEZER DOOR
09 - DISPENSER FRONT
10 - UNIT
11 - ICE MAKER
12 - CONTROL, OPTIONAL