No products in the cart.
02 - CABINET
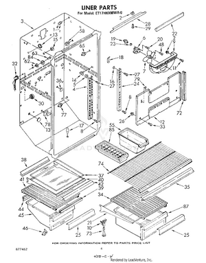
03 - LINER
04 - BREAKER AND PARTITION
05 - UNIT
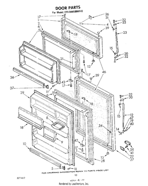
06 - DOOR , LIT/OPTIONAL