No products in the cart.
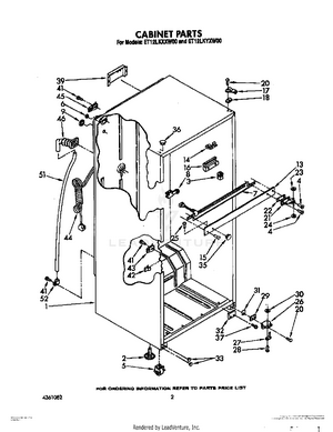
02 - CABINET
03 - LINER
04 - COMPARTMENT SEPARATOR
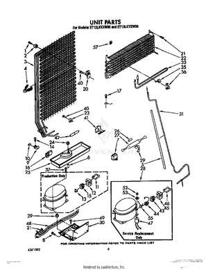
05 - UNIT
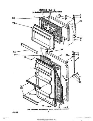
06 - DOOR, LIT/OPTIONAL
07 - SHELF