No products in the cart.
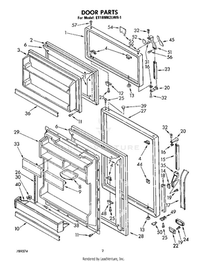
02 - DOOR
03 - CABINET
04 - SHELF
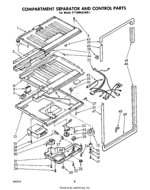
05 - COMPARTMENT SEPARATOR AND CONTROLS
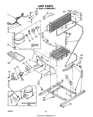
06 - UNIT
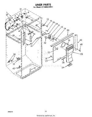
07 - LINER, LIT/OPTIONAL