No products in the cart.
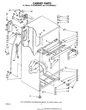
02 - CABINET
03 - LINER
04 - COMPARTMENT SEPARATOR
05 - SHELF
06 - FREEZER DOOR
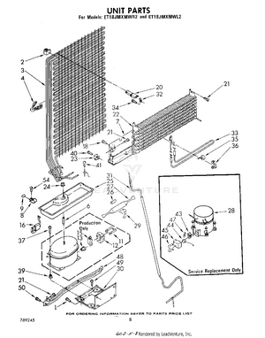
07 - SECTION
08 - SECTION
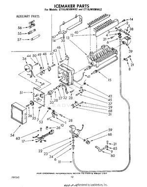
09 - ICE MAKER , NOT ILLUSTRATED AND OPTIONAL