No products in the cart.
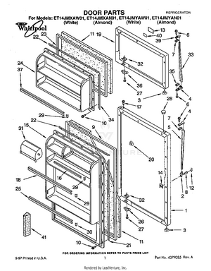
01 - DOOR
02 - CABINET
03 - LINER, LIT/OPTIONAL
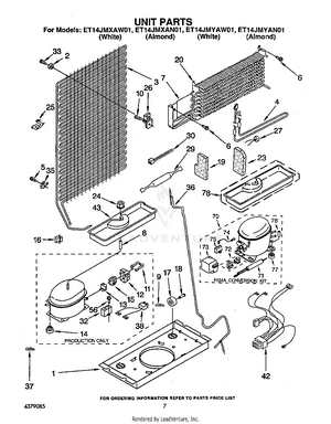
04 - UNIT
05 - ICEMAKER, SHELF
06 - SECTION