No products in the cart.
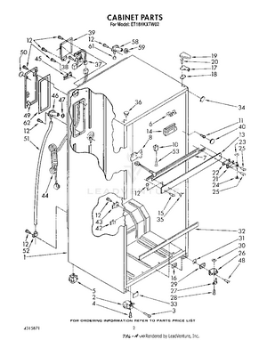
02 - CABINET
03 - LINER
04 - COMPARTMENT SEPARATOR
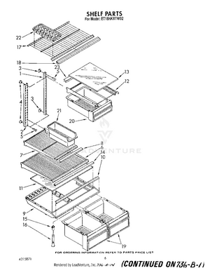
05 - SHELF
06 - FREEZER DOOR
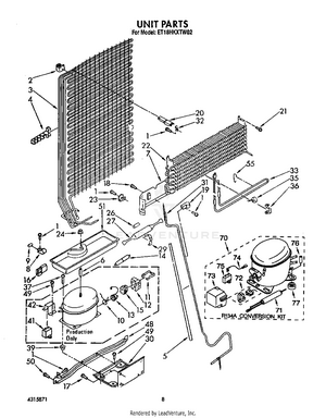
07 - UNIT
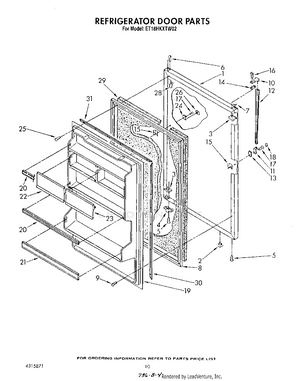
08 - REFRIGERATOR DOOR , LIT/OPTIONAL