No products in the cart.
01 - CABINET, LITERATURE
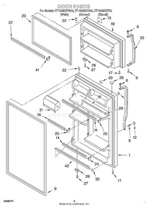
02 - DOOR
03 - LINER
04 - UNIT
05 - ICE MAKER
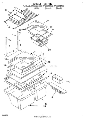
06 - SHELF, OPTIONAL