No products in the cart.
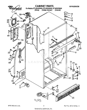
01 - CABINET PARTS
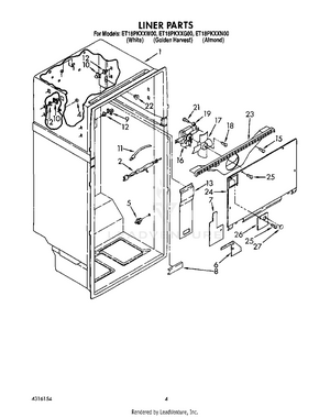
02 - LINER
03 - COMPARTMENT SEPARATOR
04 - SHELF
05 - FREEZER DOOR
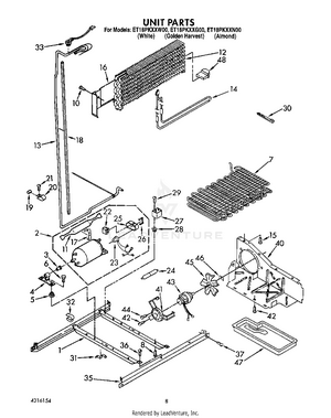
06 - UNIT
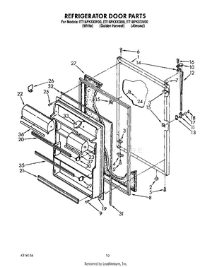
07 - REFRIGERATOR DOOR, LIT/OPTIONAL