No products in the cart.
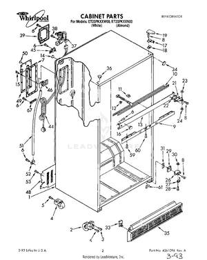
01 - CABINET
02 - LINER
03 - COMPARTMENT SEPARATOR
04 - SHELF, LIT/OPTIONAL
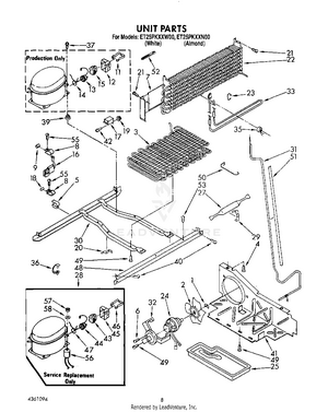
05 - UNIT
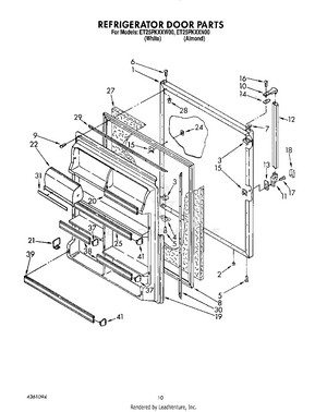
06 - REFRIGERATOR DOOR
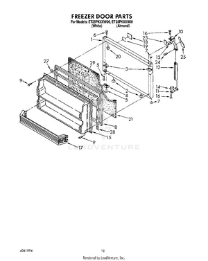
07 - FREEZER DOOR