No products in the cart.
01 - CABINET
02 - LINER
03 - COMPARTMENT SEPARATOR
04 - SHELF
05 - UNIT
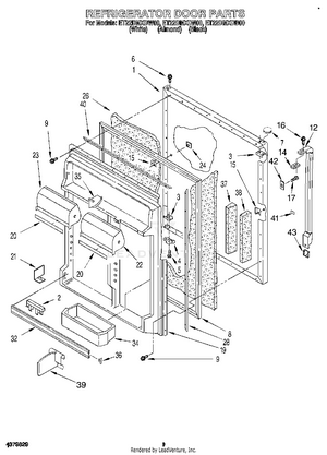
06 - REFRIGERATOR DOOR
07 - ICEMAKER
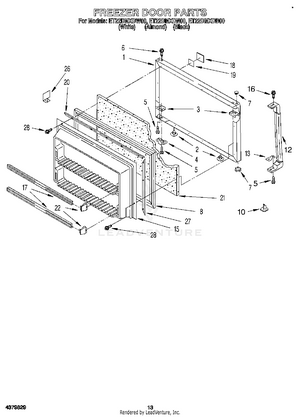
08 - FREEZER DOOR, LIT/OPTIONAL