No products in the cart.
01 - CABINET
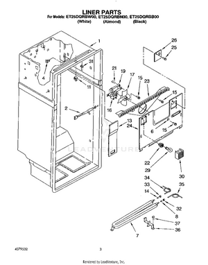
02 - LINER
03 - COMPARTMENT SEPARATOR
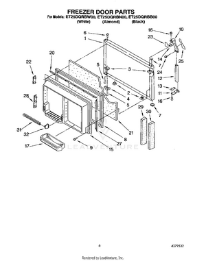
04 - FREEZER DOOR
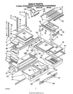
05 - SHELF, LIT/OPTIONAL
06 - UNIT
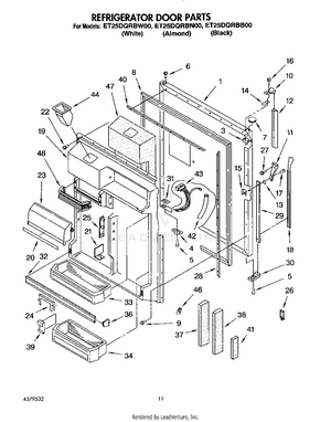
07 - REFRIGERATOR DOOR
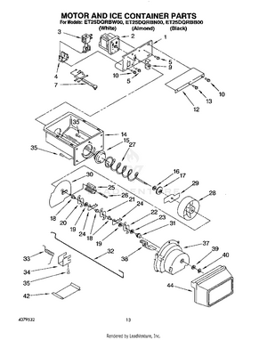
08 - MOTOR AND ICE CONTAINER
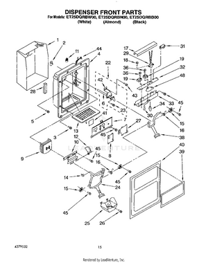
09 - DISPENSER FRONT
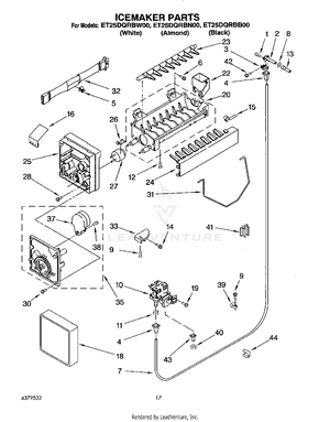
10 - ICEMAKER