No products in the cart.
01 - CABINET
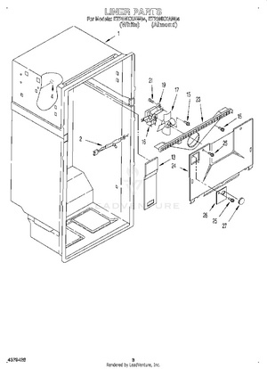
02 - LINER
03 - COMPARTMENT SEPARATOR
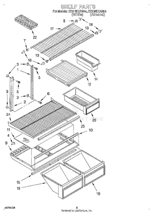
04 - SHELF
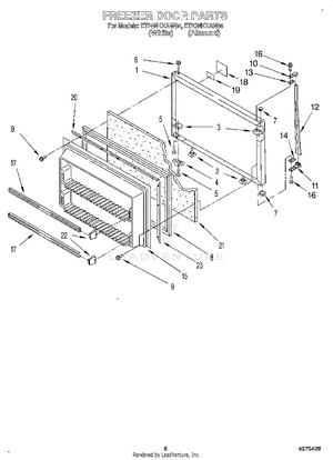
05 - FREEZER DOOR
06 - UNIT
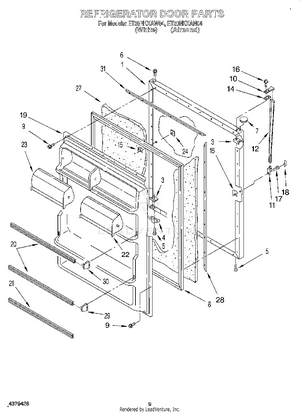
07 - REFRIGERATOR DOOR, LIT/OPTIONAL