No products in the cart.
02 - CABINET
03 - LINER
04 - BREAKER AND PARTITION
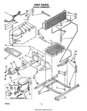
05 - UNIT
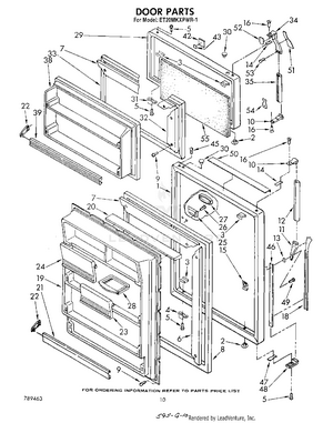
06 - DOOR , NOT ILLUSTRATED AND OPTIONAL