No products in the cart.
01 - CABINET
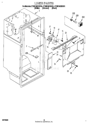
02 - LINER
03 - COMPARTMENT SEPARATOR
04 - SHELF, LIT/OPTIONAL
05 - UNIT
06 - REFRIGERATOR DOOR
07 - ICEMAKER
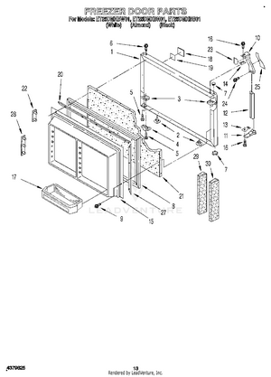
08 - FREEZER DOOR