No products in the cart.
01 - CABINET
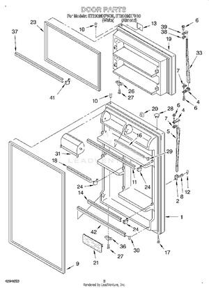
02 - DOOR
03 - LINER
04 - UNIT
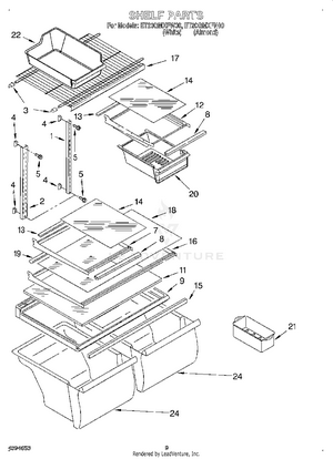
05 - SHELF
06 - ICEMAKER, LIT/OPTIONAL