No products in the cart.
01 - CABINET, LITERATURE
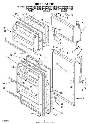
02 - DOOR
03 - LINER
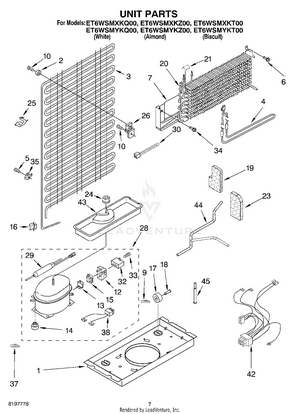
04 - UNIT
05 - SHELF
06 - ICEMAKER, OPTIONAL