No products in the cart.
01 - CABINET
02 - LINER
03 - SHELF
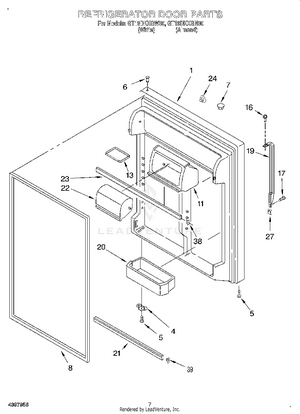
04 - REFRIGERATOR DOOR
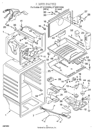
05 - UNIT
06 - FREEZER DOOR, LIT/OPTIONAL