No products in the cart.
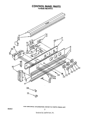
02 - CONTROL PANEL, LIT/OPTIONAL
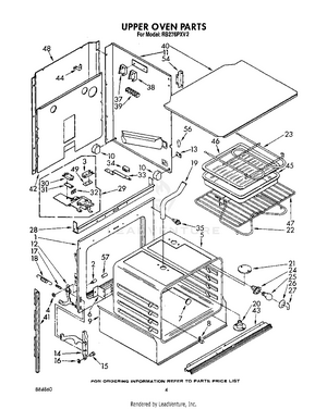
03 - UPPER OVEN
04 - LOWER OVEN
05 - UPPER OVEN DOOR
06 - LOWER OVEN DOOR
07 - WIRING HARNESS, OPTIONAL