No products in the cart.
02 - COOKTOP
03 - DOOR AND DRAWER
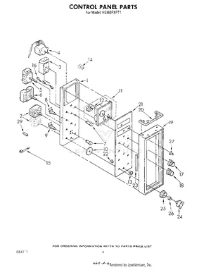
04 - CONTROL PANEL
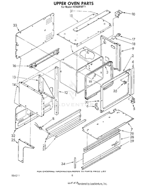
05 - UPPER OVEN
06 - UPPER OVEN DOOR AND UNIT
07 - LOWER OVEN, LITERATURE AND OPTIONAL
08 - SECTION
09 - WIRING HARNESS