No products in the cart.
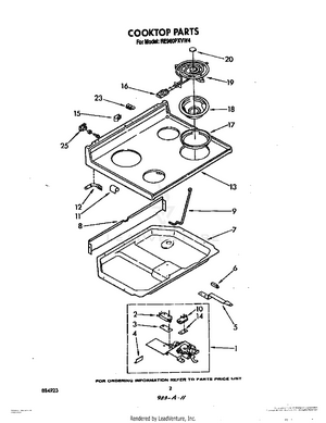
02 - COOKTOP
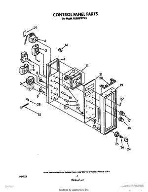
03 - CONTROL PANEL
04 - LOWER OVEN
05 - DOOR AND DRAWER
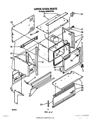
06 - UPPER OVEN
07 - UPPER OVEN DOOR AND UNIT
08 - OVEN, LITERATURE AND OPTIONAL
09 - WIRING HARNESS