No products in the cart.
01 - COOKTOP, LITERATURE
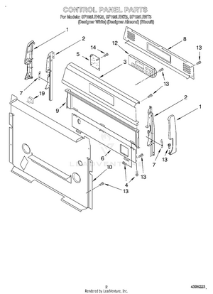
02 - CONTROL PANEL
03 - MANIFOLD
04 - CHASSIS
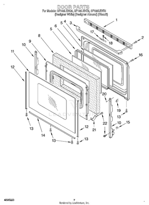
05 - DOOR
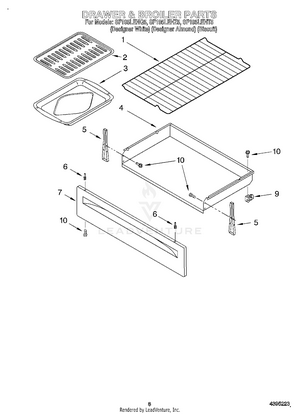
06 - DRAWER AND BROILER