No products in the cart.
01 - COVER SHEET
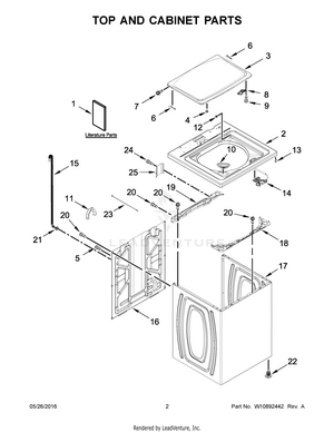
02 - TOP AND CABINET PARTS
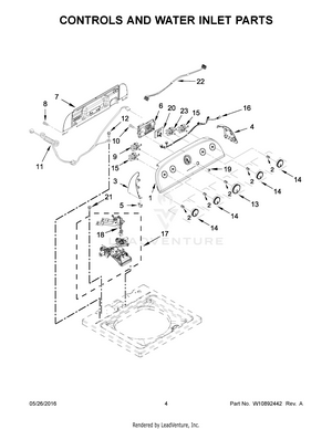
03 - CONTROLS AND WATER INLET PARTS
04 - BASKET AND TUB PARTS
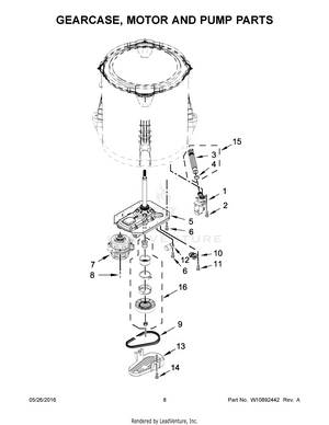
05 - GEARCASE, MOTOR AND PUMP PARTS
06 - OPTIONAL PARTS (NOT INCLUDED)